Author Topic: dropping the oil pan...checklist  (Read 2443 times)

n2motorsports

  • Full Member
  • ***
  • Thank You
  • -Receive: 0
  • Posts: 170
    • View Profile
dropping the oil pan...checklist
« on: June 06, 2007, 09:13:56 PM »


hi everyone, im new to e30's it's a fun car and I already need help.

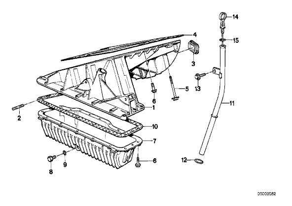
what's #3, is it reuseable?  will I need it when dropping the oil pan.  chances are, I will not need to remove the upper portion (keep fingers crossed) but just in case I do.


thanks.

sheepdog

  • Site Admin
  • Administrator
  • Legendary
  • *****
  • Thank You
  • -Receive: 4
  • Posts: 1272
    • View Profile
dropping the oil pan...checklist
« Reply #1 on: June 07, 2007, 12:03:43 AM »
#3 is a rubber plug for an inspection port, the drawing is poor at showing this.
Yes, it is re-usable.

The only time you should need to remove the upper pan is if you have to replace the timing chain housing. Everything you need to check for as far as pan bolts and such goes can be inspected and dealt with by removing the lower pan. Easy as pie.

Some people get freaked out and think this is a major thing, the pan is very easy to get to. It is a simple task that can be accomplished in 30 minutes. No major work is required and it is cheap if you time it with an oil change.
"When trouble arises and things look bad, there is always one individual who perceives a solution and is willing to take command. Very often, that individual is crazy." --Dave Berry

n2motorsports

  • Full Member
  • ***
  • Thank You
  • -Receive: 0
  • Posts: 170
    • View Profile
dropping the oil pan...checklist
« Reply #2 on: July 02, 2007, 10:46:15 AM »
Finally got around to doing this.  Pretty easy job, the 2 issues I had was:

1. overtorqued, set the torque wrench to 8 and pulled the treading right out of the upper oil pan.  Got a heli-coil set and done.  Hopefully that strong enough.  Re-torqued to 5lbs.

2. purchased some honda bond to seal in conjunction with my paper gasket, but when pulling off the old pan, there was no rtv material, so I went with paper only...so far so good.

fortunately for me, there were no bolts on the bottom of the pan, only 1 bolt seemed a little loose.  I retighten all bolts with loctite.

bmwman91

  • Administrator
  • Legendary
  • *****
  • Thank You
  • -Receive: 33
  • Posts: 2798
    • View Profile
    • http://www.e30tuner.com/
dropping the oil pan...checklist
« Reply #3 on: July 02, 2007, 11:30:14 AM »
Just pulling it apart to check for leaks and bad gaskets?  It seems that these motors just perpetually leak, especially when running full synthetic oil.  I too have stripped threads in a couple spots where the upper pan attaches.  I really need to helicoil those still, but I am still tired of doing it after the 9 stripped ones in my head/valve cover holes!

If you are having leaks, my 2 big suggestions are:
- Check the O-ring around the timing chain tensioner piston.  It can leak a lot if damaged.
- Check around the valve cover gasket.  It leaked a lot until I replaced it and helicoiled the valve cover bolt holes.  When it gets old, the rubber gets hard and brittle, causing annoying leaks!

06/05/2011 - 212,354 miles
Visit HERE for a plethora of 318iS stuff and some other randomness.  Would you say I have a, plethora, of pinatas?